在今年层出不穷火爆的数字货币面前,投资股票基金显得是老一代人的玩法了,数字货币现在被一大部分年轻人占领,一大波数字货币平台也喷涌而出,形形色色的众多平台和不同类型的数字货币,那么我们该如何去购买数字货币,在哪些平台购买数字货币在比较靠谱,才能够更加的安全和放心呢?

这是一篇数字资产购买扫盲、小白入门篇。小编希望大家能够注意风险和风控、投资顺利!
1、明确知道数字货币投资意味着什么
数字货币本质上是虚拟资产,属于高风险投资,数字货币市值的高低基本代表了市场对其价值的认可度高低。不考虑短期投机性的因素,一般来看,市值越高,投资的风险便越低。
2、了解什么是币币交易、法币交易、场内交易和场外交易。
a. 币币交易:
主要指数字资产和数字资产之间的交易,即以其中一种币作为计价单位去购买其他币种。
优势:
1. 可以降低兑换币种之间的成本;
2. 提供平台内套利的良好机会优势。
b. 法币交易:
传统的加密货币交易平台只有法币交易,即法币兑数字货币交易(PS:国家法定货币简称为法币,可能是人民币也可能是美元等法币)。
优势:可以直接把数字资产变现;
劣势:无形之中增加了投资者的经济及时间成本。
c. 场内交易:
又称交易所交易,指所有的交易者集中在交易所进行竞价交易的交易方式。
特点:
1.交易所向交易参与者收取保证金、同时负责进行清算和承担履约担保责任;
2. 由于交易者需求不同,交易所事先设计出标准化的金融合同,由交易者根据自身需求进行选择。此举增加了交易的密度,一般可以形成流动性较高的市场。
d. 场外交易:
又称点对点(线下)交易、柜台交易;指交易双方直接作为交易对手的交易方法。由于每个交易的清算是由交易双方相互负责进行的,交易参与者仅限于信用程度高的客户。
3、其他注意事项
1) 仍在有效期内的身份证(用于实名认证)。
2) 持有微信或支付宝或储蓄卡:银行卡需要注意一定要是储蓄卡,而非信用卡,目前只有极少数国外平台支持信用卡买币。

选择交易平台时,一方面要考虑操作简单性,另一方面也要考虑风险性。大家也经常会看到交易平台被盗、交易平台有安全漏洞之类的新闻。因此,选择靠谱适合自己的交易平台比较重要。
特别说明一点:很多小伙伴在选择交易平台时,也许会优先考虑交易量较大的交易所。小编认为对我们比较重要的是流动性和市场深度。
为什么这么说呢?流动性代表在市场买卖时不受阻力的能力。平台流动性越好,代表交易越活跃,理论上来说,你的成交时间就会越短;而市场深度是指市场在承受大额交易时数字资产价格不出现大幅波动的能力。
简而言之,“深度”比较好的平台,可以更快捷、更方便的进行大笔交易(对小散户来说重要性不是太明显)。
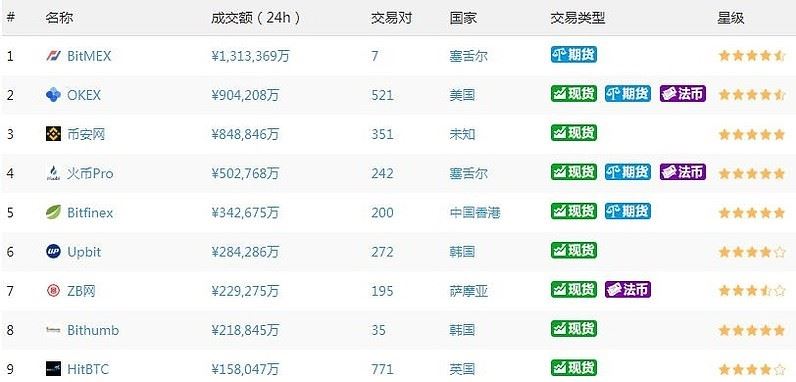
下图是排名比较靠前的十个交易平台

1、BitMEX:建立于塞舌尔共和国,是最先进的比特币衍生品交易所,对于比特币类产品提供高达100倍的杠杆,同时也提供针对其它数字货币产品的高杠杆。
2、OKEX:是全球著名的数字资产交易平台之一,主要面向全球用户提供比特币、莱特币、以太币等数字资产的现货和衍生品交易服务,隶属于OKEX Technology Company Limited。该交易所国内已无法访问,用户可从网页链接或网页链接下载手机客户端。
3、币安网:是全球领先的区块链资产交易平台,为全球区块链爱好者提供多币种、多语言的币币兑换服务,目前包含 Binance 区块链资产交易平台、Binance Info,Binance Labs,Binance Launchpad 等业务。
4、火币Pro:是火币集团旗下服务于全球专业交易用户的创新数字资产交易平台,致力于发现优质的创新数字资产投资机会,目前提供四十多种数字资产品类的交易及投资服务,总部位于新加坡,由火币全球专业站团队负责运营。
5、Bitfinex:是全世界最大、最高级的比特币交易平台之一,支持以太坊、比特币、莱特币、以太经典等虚拟币的交易,每天的成交量达30多亿人民币。
6、币安(Binance)——全球最大的虚拟货币数字资产交易所服务平台官方网站,平台内支持BTC、ETH、LTC等多种数字货币,主要为用户提供数字资产兑换及交易服务
一般主流的数字货币平台都可以交易狗狗币比如国内三大平台,okex、币安、火币,建议不要用小平台去交易免得上当受骗。

1、注册账号 – 选定交易所,注册账号,拥有自己的个人账号;
2、身份认证 – 填写身份信息,进行身份验证,确保交易的真实性、安全性,同样也能有效防范不法分子的违法活动;
3、购买法币 – 身份通过审核后点击法币交易,可以理解为数字货币界的美元、人民币,通常购入USDT;
4、交易数字货币 – 选择自己喜欢的交易方式,使用法币来买卖心水已久的数字货币;
5、提取收益 – 等水涨船高时,将法币兑换回人民币,如果坚信数字资产的未来价值,不妨长期持有。
比特币到底是什么?我们该如何认识和监管比特币及类似的各种币?它们能否承担货币的职能?在4月初的博鳌论坛上,人民银行副行长李波表示,比特币和稳定币是加密资产。加密资产是投资的选项,它本身绝不是货币,而是另类投资品。加密资产将来可能发挥的主要作用是作为一种投资工具或是替代性投资。人民银行前行长周小川也表示,要区分数字货币和数字资产,对于比特币这类数字资产,并非现在要下结论,但是“要提醒,要小心”,“在中国,金融创新的东西都要说清楚它对实体经济的好处”。纽约联储之前的一篇文章对比特币的性质进行了详细讨论,认为比特币如果作为交易媒介,并没有什么特殊之处,比特币的主要新颖之处在于创建了一种新的不依赖于第三方的交易机制,该文章对我们认识比特币颇有助益,我们将文章整理出来,供参考。

比特币以及更普遍的加密货币,通常被描述为一种新型货币。在这篇文章中,我们认为这是一个误解。比特币可能是货币,但它不是一种新型货币。要了解比特币真正的新特性,有必要区分“货币”和“交易机制”。这样做表明,具有类似比特币性质的货币已经存在了几个世纪。然而,在没有可信方的情况下进行电子交换的能力是比特币的一个决定性特征,这是全新的。比特币并不是一种新的货币,它是一种新的交易机制,这种交易机制可以支持多种形式的货币以及其他类型的资产。
放在最后的建议
小编认为:任何投资都须时刻谨记,风险与收益并存。投资金额永远不要超过你能承受的损失。建议加密货币在投资组合里不能超过1%。更多内容请继续关注句子百科。
本站提醒:投资有风险,入市须谨慎,本内容不作为投资理财建议。 Tag:数字 货币版权说明234:本文章为欧易交易所app官方下载所有,未经允许不得转载。
新闻资讯MORE +